Trägersystem 120
Trägerprofil TP 120
Einsatz
Multifunktionales Trägerprofil zur Erstellung von Trassen, komplexen Unterkonstruktionen sowie 3D-Units verschiedenster Anwendung.
Das Trägerprofil eignet sich für unterschiedlichste Anwendungsfälle mit anspruchsvollen Lastsituationen wie z. B. bei großen Spannweiten oder hoch belasteten Rahmenkonstruktionen.
Technische Daten
| Typ | Widerstands- moment [cm3 ] | Trägheits- moment [cm4 ] | Trägheits- radius [cm] | Torsions- moment lt [cm4 ] | Querschnitt A [cm2 ] |
|---|---|---|---|---|---|
| TP 120 | Wy: 142,00 Wz: 52,80 | ly: 853,00 lz: 317,00 | iy: 5,13 iz: 3,13 | 13,66 | 32,3 |
Alle Werte berücksichtigen die Lochung.
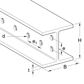
| Typ | H [mm] | B [mm] | t [mm] | d [mm] | e [mm] | e1 [mm] |
|---|---|---|---|---|---|---|
| TP 120 | 120 | 120 | 11 | 13,5 | 50 | 50 |
| Material: | Stahl, HCP |
Auch erhältlich mit DUALSHIELD C5H-Oberfläche für hochkorrosive Atmosphären.